首页
行业动态
党建工作
会员服务
通知公告
法规标准
教育培训
关于我们
首页
资料下载
DATA DOWN
资料下载
资料下载
联系我们
南宁市青秀区金湖路58号广西建设大厦3楼
0771-8888888
gxjsgcxfxh@163.com
530028
资料下载
主页
>
资料下载
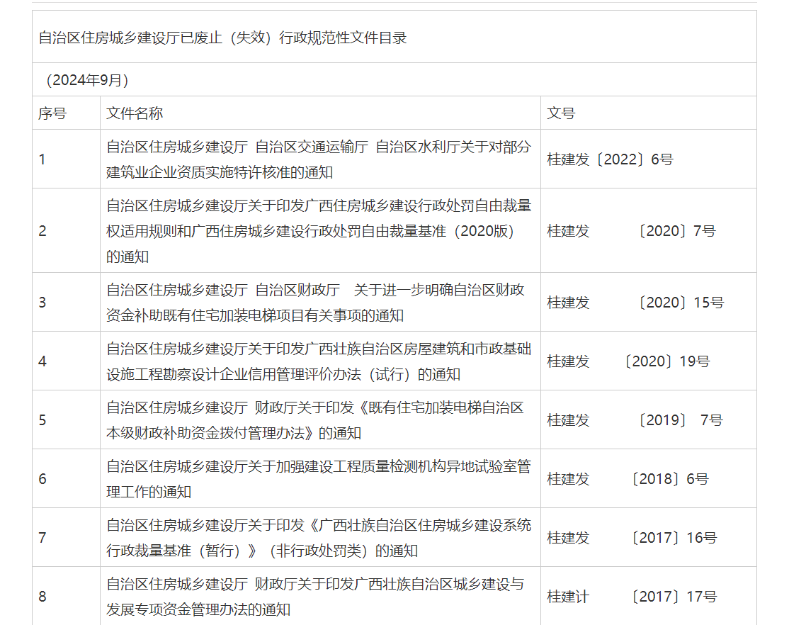
自治区住房城乡建设厅已废止(失效)行政规范性文件目录
来源:广西壮族自治区住房和城乡建设厅
时间:2024-10-12
自治区住房城乡建设厅已废止(失效)行政规范性文件目录
×
首页
行业动态
>
党建工作
>
会员服务
>
通知公告
>
法规标准
>
视频学习
>
关于我们
>